热塑线圈SB731

型号:SB731/XY19582

类别:热塑性电磁线圈

品牌:腾博官网诚信为本专业服务XINGYU

产地:宁波奉化

技术参数

常规电压DC12V
常规功率AC 
DC30W
其他特种电压、特种功率可定做
绝缘等级H
线圈连接方式DEUTCH


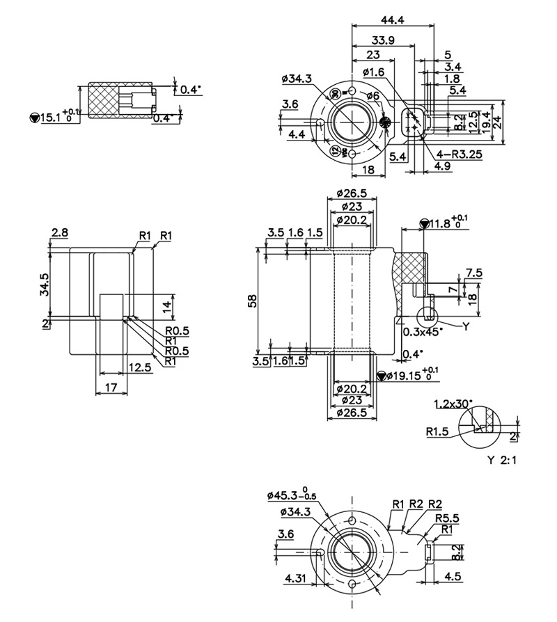
结构尺寸


原料展示


公司简介

公司简介

制造能力

制造能力

行业应用

应用行业

合作伙伴

合作伙伴

服务网络

服务网络

上一篇:热塑线圈SB727

下一篇:热塑线圈SB736

相关产品